探索番茄移栽用打孔装置,提高番茄移栽打孔效率
宋旭慧
新疆昌吉市农牧业技术推广中心, 新疆昌吉市,831100
一、引言
番茄作为一种重要的蔬菜作物,在全球范围内广泛种植。在番茄的种植过程中,移栽是一项关键环节,而移栽前的打孔作业质量与效率直接影响着番茄的成活率和后续生长。传统的人工打孔方式不仅劳动强度大、效率低,而且打孔的深度、直径和间距难以保证一致性,不利于番茄的标准化种植。因此,探索一种高效、精准的番茄移栽用打孔装置具有重要的现实意义。
二、传统打孔方式存在的问题(一)劳动强度大
传统的人工打孔需要种植者手持工具(如锄头、铁锹等)在田间反复挖掘,长时间作业容易导致身体疲劳,影响工作效率和打孔质量。
(二)效率低
人工打孔的速度较慢,尤其是在大规模种植的情况下,需要投入大量的人力和时间,增加了种植成本。
(三)打孔质量不稳定
人工打孔难以精确控制打孔的深度、直径和间距,容易出现打孔过深或过浅、直径过大或过小以及间距不均匀等问题,影响番茄幼苗的移栽和生长。
三、番茄移栽用打孔装置的设计思路
(一)提高效率
设计装置时应考虑采用机械化或半机械化的操作方式,减少人工参与,提高打孔速度。例如,可以采用动力驱动的方式,使打孔部件快速、连续地完成打孔动作。
(二)保证质量
装置应具备精确控制打孔深度、直径和间距的功能,确保每个打孔的质量一致。可以通过设置调节机构,根据不同的种植需求灵活调整打孔参数。
(三)操作简便
装置的操作应简单易懂,方便种植者使用。同时,装置的结构应紧凑、轻便,便于在田间移动和携带。
(四)适应性强
考虑到不同地区的土壤条件和种植模式可能存在差异,装置应具有一定的适应性,能够在不同类型的土壤中正常工作。
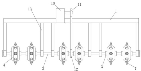
四、番茄移栽用打孔装置的结构特点与工作原理
(一)结构特点
动力系统:采用小型汽油机或电动机作为动力源,为打孔部件提供动力。动力系统具有功率适中、运行稳定的特点,能够满足打孔作业的需求。
传动系统:通过链条、皮带等传动部件将动力从动力系统传递到打孔部件。传动系统设计合理,能够保证打孔部件的转速和扭矩稳定。
打孔部件:打孔部件是装置的核心部分,通常由打孔钻头和钻杆组成。打孔钻头采用高强度合金材料制成,具有良好的耐磨性和锋利度,能够快速、准确地完成打孔作业。钻杆的长度可以根据需要进行调节,以适应不同的打孔深度。
调节机构:设置深度调节机构和间距调节机构,用于控制打孔的深度和间距。深度调节机构可以通过调整钻杆的伸出长度来实现,间距调节机构可以通过改变打孔部件的安装位置来实现。
机架:机架是装置的支撑结构,采用高强度钢材焊接而成,具有良好的稳定性和承载能力。机架上还安装有扶手和行走轮,方便种植者操作和移动装置。
打孔装置的结构示意图

(二)工作原理
启动动力系统后,动力通过传动系统传递到打孔部件,使打孔钻头高速旋转。种植者通过扶手控制装置的移动方向和速度,将打孔钻头对准需要打孔的位置,然后向下按压装置,使打孔钻头钻入土壤中。当达到设定的打孔深度后,停止按压,将装置抬起,完成一个打孔作业。通过调节机构的调整,可以改变打孔的深度和间距,以满足不同的种植要求。
打孔装置中减速箱与传动轴的连接结构示意图

五、番茄移栽用打孔装置的实际测试与应用
(一)测试方法
选择一块面积较大的番茄种植田,将测试区域划分为若干小块,分别采用传统人工打孔方式和新型打孔装置进行打孔作业。记录两种方式的打孔时间、打孔数量、打孔深度、直径和间距等数据,并对打孔质量进行评估。
(二)测试结果
打孔效率
在农业生产中,打孔效率直接影响着番茄移栽的进度与成本。新型打孔装置凭借其独特设计,展现出远超传统人工打孔方式的优势。传统人工打孔依赖种植者手持工具反复作业,速度缓慢且易疲劳。而新型打孔装置采用动力驱动,打孔部件快速、连续运转。在相同时间跨度内,新型装置完成的打孔数量能达到人工打孔的数倍。据统计:在同样地块,1 膜2 行打孔机每天可完成打孔作业 100-120 亩;3 膜 6 行打孔机每天打孔作业330 亩,这不仅极大缩短了打孔作业时间,还为后续的番茄移栽工作争取了宝贵时机。对于大规模番茄种植基地而言,效率的提升意味着能够更快完成种植任务,减少因种植时间过长而可能带来的生长风险,有力推动了番茄种植的规模化与高效
打孔轮的结构示意图

化发展。
打孔质量
打孔质量是番茄移栽成功的关键因素之一,新型打孔装置在此方面表现卓越。它打出的孔在深度、直径和间距上一致性良好,精准适合番茄移栽的要求。这是因为装置配备了精确的调节机构,可根据不同种植需求灵活调整打孔参数。反观人工打孔,由于受到个人体力、经验、操作习惯等人为因素影响,打孔质量参差不齐。深度过浅会影响番茄根系生长,过深则可能导致积水;直径不合适会影响幼苗稳定性;间距不均匀会影响通风透光。新型打孔装置有效避免了这些问题,为番茄幼苗提供了良好的生长环境,有助于提高移栽成活率和后续产量。
劳动强度
劳动强度是衡量农业生产工具优劣的重要指标, 新型打孔装置在这方面优势显著。传统人工打孔时,种植者需反复弯腰、用力挖掘,长时间作业 极 型打孔装置操作简单便捷,种植者只需轻松控制装置的移动和按压 要的打孔工作,大大减轻了种植者的体力消耗。这不仅提高了种植者 保持高效的工作状态。对于种植户而言,劳动强度的降低意味着能够减少人力投入, 低劳动成本, 也有利于吸引更多劳动力参与农业生产,推动农业现代化进程。
(三)应用效果
在实际的番茄种植中,新型打孔装置得到了广泛的应用。种植户反映,该装置不仅提高了移栽打孔的效率,降低了劳动成本,还提高了番茄的移栽质量和成活率。同时,装置的使用也促进了番茄种植的机械化和规模化发展,提高了农业生产效益。
结论
本文探索的番茄移栽用打孔装置通过合理的设计和优化,有效地解决了传统打孔方式存在的问题,提高了番茄移栽打孔的效率和质量,降低了劳动强度。实际测试和应用结果表明,该装置具有良好的性能和应用前景,值得在番茄种植领域推广使用。
未来,可以对番茄移栽用打孔装置进行进一步的改进和优化。例如,采用更先进的动力系统和传动系统,提高装置的可靠性和稳定性;增加智能化控制功能,实现打孔参数的自动调节和打孔作业的自动化;开发适用于不同种植模式和土壤条件的打孔装置,满足多样化的种植需求。通过不断的技术创新和改进,推动番茄种植机械化水平的不断提高,为现代农业的发展做出更大的贡献。
参考文献
[1] 秋延迟番茄育苗关键技术. 郑建利,孙竹波,陈宝芳,柳新明.内蒙古农业科技,1999(S1)
[2] 秋保护地番茄育苗技术. 周景尧 ,王红伟 ,李野牧 ,付振卓.中国农村小康科技,2004(11)
[3] 夏秋番茄育苗技术. 曹学良.农村新技术,1999(05)
[4] 番茄育苗技术. 靳颖玲.西北园艺(综合),2021(01)
[5] 设施番茄育苗技术. 富玉苗.西北园艺(蔬菜),2016(03)
[6] 设施番茄育苗技术. 赵庆阳.西北园艺(蔬菜),2015(07)
作者简介,姓名:宋旭慧(1971 年12 月18 日),性别,女,籍贯:中国山东莱阳人,民族,汉族,本科学历,职称:工程系列机械电子专业高级工程师5 级,研究方向:农业机械技术推广。