WG50-250 型立式污水泵的研制
刘双全
达州市农业机械研究推广站 四川 达州 635099
1.前言
在的农村专业合作社中调研发现,WG50-250 型立式污水泵在使用中存在着流量扬程比名牌上标记的数值过低、叶轮容易堵塞,通过多方想办法也未得到彻底解决。WG50-250 型立式污水泵名牌上标记的流量Q=12.5m3/h ,扬程 H=80m,转速 n=2900r/min ,效率 42% ,气蚀余量 NPSHr=2.5m,电机 11kW。通过多次现场调研和对泵解体分析发现:该泵属于小流量高扬程参数离心泵,叶轮出口宽度本身就小容易堵塞,泵流量扬程达不到设计要求,填料密封使用寿命短(一般一个月左右)。通过对原叶轮的改进等办法无法达到满意的使用要求,鉴于此情,决定重新设计研制WG50-250 型立式污水泵产品。
2.泵的结构
2.1 WG50-250 型立式污水泵的结构组成
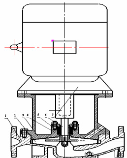
WG50-250 型立式污水泵主要由泵体、叶轮、轴、轴套、电机支架、立式电机等零部件组成,组成示意图见图1:

1-泵体 2-叶轮 3-电机支架 4-轴套 5-填料 6-轴 7-立式电机
2.2 叶轮的结构[1-4]
WG50-250 型立式污水泵的基本设计参数为: Q=12.5m3/h=3.47m3/s , H=80m , n=2900r/min ,其比转速为:

属于超低比转速离心泵范围,按照部分流泵的原理来设计叶轮的水力与结构,叶轮为全开式结构设计,无前后盖板,无圆盘摩擦损失,叶轮背面对泵体密封腔有泵吸作用,密封腔体压力跟泵进口压力差不多,有利于降低密封压力,延长填料密封的使用寿命。
泵体借用原来的水力,仅对吐出喉部尺寸按照不分流泵原理来重新新计算(喉部折算直径 d=Φ15mm),泵体结构尺寸与全开式叶轮尺寸相对应协调。
2.3 锥形轴套设计
污水工况使用,填料密封无冲洗水容易损坏,为延长填料密封的使用寿命,将轴套由圆柱形外圆设计制作成 3°的锥形外圆,填料压盖端为小头,填料压紧时,来自填料压盖的压紧力更容易传替到最里面一圈填料,沿轴套表面的压紧力基本均匀一致,延长填料使用寿命,轴套结构见图2:

3.叶轮的水力计算[1,3,4]
叶轮结构图见图3,叶轮的主要水力尺寸计算按照高速部分流泵的设计方法并结合我站已有的实用新型专利技术(一种自吸泵,专利号ZL201120043452.X)的成功经验来计算如下:
叶轮外径:
,叶轮出口宽度:b2=1.15d=17.3(mm)=17.3 mm,叶轮进口边D0 =Φ38mm ,叶轮进口边 D1=Φ50mm ,叶轮轴孔为 Φ25mm ,叶轮轮毂 D=Φ40mm ,叶轮叶片厚度S=8mm ,叶轮中间半盖板圆周为0.5D2=Φ108.5 mm,半盖板厚度 S=8mm ,叶片数Z 一般取6~10 枚,该叶轮取 Z=8 枚。

4.性能测试结果
WG50-250 型立式污水泵组装完成后,在水泵试验台测试,泵设计点性能为:流量 Q=12.5m3/h ,扬程 H=80.9m,转速 n=2900r/min ,效率 49% ,轴功率Pa=5.6kW,气蚀余量 NPSHr=2.5m ,泵 Q~H 流量扬程曲线平直,具有变流稳压的特性,由于泵有流量中断特性,泵在最大流量为 15m3/h 时的轴功率 Pa=5.8kW,泵配 7.5kW 的立式电机也不会过载,测试的对应流量扬程见下面表1:

将WG50-250 型立式污水泵对应流量扬程作出曲线,见图4 中的曲线1,再将原来的WG50-250 型立式污水泵的流量扬程曲线也作到同一张曲线图中,分别见图4 中的曲线 2

1.WG50-250 型立式污水泵流量扬程曲线 2.原来的WG50-250 型立式污水泵流量扬程曲线
从Q~H 流量扬程曲线图4 可见:WG50-250 型立式污水泵的最大流量为 15m3/h ,在全流量范围内使用都压力恒定,原来的WG50-250 型立式污水泵的流量扬程曲线呈现下降趋势,无稳压特点,使用流量范围窄小。WG50-250 型立式污水泵与原来的近WG50-250 型立式污水泵的设计点性能对比见表2:

从表中可见:WG50-250 型立式污水泵高效节能、配套电机小、质量轻、 具有在全流量范围内使用的恒压特性。
研制的WG50-250 型立式污水泵,经过3 个专业合作社使用,填料密封使用寿命都在3 个月以上。
5.节能计算
研制的 WG50-250 型立式污水泵设计点的效率为 49% ,轴功率为 5.6kW,原来的 WG50-250 型立式污水泵设计点的效率为 42% ,轴功率为6.5kW,轴功率相差0.9kW,若按照每年累计300 天连续运行使用来计算的话,也可以节约电:0.9×24×300=6480kW.h/年,农电按照 0.5 元/kW.h 计算,单台套一年可以节电价值 3240 元。
参考文献:
[1]张元华,方长河,曾宪荣.一种自吸泵[P].中国专利:ZL2011200443452.X,2011-12-07.
[2]合肥通用机械研究所.高速部分流泵[R].合肥:化工与通用机械参考资料,1975.08,38-41.
[3]甘肃工业大学水力机械教研室李文广译.(美国)工业用离心泵设计与应用[R].兰州:1998.01,88-95.
[4]沈阳水泵研究所.叶片泵设计手册[R].北京:机械工业出版社,1983,105-106.
作者简介:刘双全(1988.10-),男,汉族,沙湾人,本科学历,工程师,主要从事泵类农业机械产品设计研究与推广。