缩略图
Secondary Education

防霉杀菌涂料的制备装置的设计及应用

作者

张海华 刘霞 金立杰

河北白沙烟草有限责任公司保定卷烟厂 保定市东三环何华路 999 号 071000

在高温高湿的环境条件下,生产设备及墙壁表面粘附的有机物料极易滋生各种霉菌。设备表面粗糙不平整,容易堆积灰尘及原料粉尘。霉菌滋生后,在高温高湿的环境中迅速繁殖。霉菌不仅会分解生产原料中的有效成分,导致原料颜色变深、纤维组织结构破坏,从而造成原料报废,带来直接经济损失;更严重的是,霉菌还可能产生曲霉毒素等有害代谢产物,还会显著影响物料的内在品质及产品质量。因此,通过研究防霉杀菌的功能涂料,能有效抑制霉菌繁殖。本文针对此类环境对防霉杀菌涂料的要求,详细阐述了一种针对曲霉菌的防霉杀菌涂料制备工艺及装置。该工艺通过一次性完成原料的混合与研磨,减少中间环节,提高了生产效率。

1 问题分析

1.1 制备防霉杀菌涂料的必要性

霉菌是一类适应性极强的真菌,能够在多种表面生存和繁殖,其适宜生长的环境特征如下:(1)温度:25℃ –30℃、相对湿度(RH): >70% ,

(2)原料含水率: ⩾15% 时易滋生霉菌(干燥原料的含水率通常需控制在 12% 以下以防霉变);

(3)环境条件:存在原料堆积且通风不良的密闭环境(如仓库)

虽然霉菌更偏好有机质,但在潮湿环境下,它们也能在有机残留的无机表面存活,如金属、塑料、玻璃、混凝土/ 砖墙等。如图 1

图1 霉菌及其分布

1.2 存在问题

传统的防霉杀菌涂料主要由有机聚合物和一些无机物组成,这些涂料因其良好的成膜性能和一定的抗菌性能而被广泛应用。然而,这些涂料存在明显缺陷:在长期使用过程中,受氧气和湿气等环境因素的影响,涂料会逐渐老化,出现开裂、剥落等现象,致使其防霉和易清洁性能显著下降;并且,现有的原料分种类研磨,效率较低。

2 防霉杀菌涂料制备工艺的设计与实施

2.1 总体工艺流程设计:

原料主要由聚氨酯丙烯酸酯树脂、稀土离子、纳米银离子、薰衣草精油、煅烧高岭土、润湿分散剂、水、防霉剂和植物杀菌剂等物质组成;原料放入混合装置中进行混合研磨得到混合原料;在混合原料中加入水性硅乳液后搅拌均匀,得到防霉杀菌涂料。曲霉菌的防霉杀菌涂料制备工艺流程如图2。

图2 曲霉菌的防霉杀菌涂料制备工艺流程

2.2 制备设备

根据霉菌的防霉杀菌涂料制备工艺,混合研磨设备包括:进料装置、混合组件、出料装置、控制器等部分。

2.2.1、进料装置

图3 结构示意图

进料装置包括进料料斗、进料管和进料螺旋输送机。进料斗底部的出料口连通进料螺旋输送机的进料管,进料管出料端穿过筒体侧壁进料口与储料斗连通,如图 3、图 4 所示。进料设备可以根据需要设置多个以实现多种原料同时进料。

1. 筒体 101. 底座 2. 进料设备 21. 进料螺旋输送机 211. 进料料斗进料调整组件 221. 驱动件 3. 搅拌设备 6. 升降设备 61. 升降组件导向组件 621. 导向管 622. 导向杆 8. 出料设备 9. 控制器

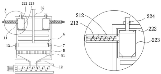
图4 内部结构示意图

4. 承接盘 5. 研磨盘 51. 出料孔 7. 环形座 11. 进料口 12. 出料口

13. 环形槽 212. 进料管 213. 进料螺旋输送机 222. 调整盘

223. 储料斗 224. 连接件 32. 搅拌桨

进料调整组件包括驱动组件、调整盘、储料斗和限位筒。如图 4、图 5 所示。位于筒体内的储料斗上部与侧壁进料口连通,底部有出料口。如图 4 所示。调整盘由驱动件驱动在储料斗内沿轴向直线往复运动,以促进物料排出。驱动件通过驱动杆、连接盘驱动调整盘。使连接件移动方向沿储料斗轴向,保证调整盘移动方向。如图 6 所示。限位筒设置了带有刻度标记观察窗。

图5 进料调整组件的结构示意图

221. 驱动件 224. 连接件 2241. 驱动杆 2242. 连接盘

2243. 连接盘 2244. 驱动杆 2245. 限位筒

图6 结构示意图

102. 安装板 2243. 连接盘 2244. 驱动杆 2245. 限位筒 22451. 观察

22452. 刻度标记 31. 搅拌电机 61. 升降组件 62. 导向组件

2.2.2 混合装置

包括筒体、搅拌设备、承接盘、研磨盘、环形座和升降装置。如图 3、图 4 所示。筒体内壁沿周向设置有环形槽,它与承接盘之间构成出料口,位于筒体底部。搅拌电机带动搅拌桨对物料进行搅拌混合;搅拌桨下端的承接盘用于承接物料。承接盘与筒体内壁之间具有供物料通过的间隙。承接盘与其下方的研磨盘配合对物料进行研磨,研磨后的物料经研磨盘的出料孔排出。

环形座处于承接盘和筒体内壁之间,用于与承接盘形成承接面。升降组件为直线驱动机构;导向组件包括导向管和导向杆。升降组件和导向组件均一端固定,另一端连接搅拌设备。出料装置为螺旋输送机,用于将筒体出料口卸出的物料外输,如图 3、图 4 所示。控制器 9 连接各用电设备,以控制各设备工作或不工作。

2.3 涂料制备工作原理

物料由进料斗进入螺旋输送机,在其旋转作用下进入混合组件中的储料斗内,通过调整盘,进入搅拌混合区。经过搅拌设备搅拌混合后的物料逐步落入下方承接盘与研磨盘中间,并得到研磨。研磨后的物料经由研磨盘上的出料口落入下方的出料输送装置输出。

调整盘通过驱动件驱动在储料斗内沿轴向伸缩运动,以促进储料斗内的物料排出;搅拌设备用于对储料斗出料口输出的物料进行搅拌混合;承接盘和研磨盘两者相对转动对物料进行研磨。

2.4 制备工作流程

原料准备:包括聚氨酯丙烯酸酯树脂、稀土离子(如钪(Sc)、钇(Y))、纳米银离子、薰衣草精油、煅烧高岭土、润湿分散剂、水、防霉剂和植物杀菌剂;植物杀菌剂按重量计的组成为茶叶4 份、松针2 份、黄芩2 份、艾草3 份和柚子皮1 份;防霉剂为N-(4- 溴-2- 甲基苯基)氯乙酰胺。

启动设备,升降设备带动驱动件、第一连接盘和限位筒向下第二连接盘进入至限位筒的内部,第一连接盘移动直至与第二连接盘磁吸连接;当承接盘进入环形座的位置后升降设备停止移动,此时将所需的物料添加至进料料

进料螺旋输送机启动进料,进料螺旋输送机将物料推送至储料斗的内部;

物料进入储料斗后向下掉落,搅拌电机带动搅拌桨旋转,对物料进行初步混合,物料逐渐堆积在承接盘上;

当进料完成后驱动件带动调整盘上下快速移动,使储料斗的内部产生风流,风流将储料斗内部残留的物料向外推出;

当搅拌一段时间(时间自行设定)混合均匀后,升降设备带动承接盘移动至低于环形座的位置;物料通过环形槽掉落至研磨盘上;

通过承接盘与研磨盘相配合对物料进行研磨。研磨的过程中物料从边侧持续进入,经过研磨的物料通过研磨盘上的出料孔掉落至出料口;

启动出料设备将内部的材料向外排出;

在研磨好的混合原料中加入水性硅乳液后搅拌均匀,得到防霉杀菌涂料。

3 应用效果

采用本工艺制备防霉杀菌涂料,由于采用一次性多物料进料混合研磨工艺,减少了中间环节,从而大幅度提高了加工效率;制备的防霉杀菌涂料物理性能良好,成膜效果佳,涂敷六个月后无开裂、剥落、表面光滑平整,易于清洁;表面没发现霉菌。如图7 所示。

图7 处理后的设备表面

4 结论

曲霉菌的防霉杀菌涂料制备工艺,采用混合装置一次性完成多原料混合研磨,在提高了加工效率的同时,减少了人工和加工中的物料接触频次,降低了外界环境和操作人员的影响,且以水性硅乳液作为成膜物质,提高了成膜效果。

参考文献

1. 付冰月、于良民、姜晓辉、闫雪峰、含辣素衍生物的疏水缔合聚合物的合成及其耐温耐盐抑菌性能研究[J]、中国海洋大学学报( 自然科学版)2019 年11 期;

2. 孙绪金、张寒露、李亮、吴刚、于良民、含辣素衍生结构疏水缔合聚合物的缓蚀性能

研究[J]、中国海洋大学学报( 自然科学版)2019 年04 期;3. 杨斌、疏水缔合聚合物 / 表面活性剂复合体系的吸附和乳化性能研究 [J]、山东化工

2023 年 08 期;4. 邸道远、汪怀远、朱艳吉、耐腐蚀耐热超疏水 T iO_2 复合涂层制备与性能研究 [J]、

化工新型材料2017 年05 期;5. 田树霖、蔡惠萍、无机抗菌金属离子液 [A]、2018(第 3 届)抗菌科学与技术论坛论

文摘要集 [C]、2018 年;

6. 周 钰、 孙 亚 禹、 赵 文 英、 王 蕊 欣、 聚 阳 离 子 / 磁 性 壳 聚 糖 负 载纳 米 银 的 抗 菌 性 能 [J]、《 中 北 大 学 学 报 ( 自 然 科 学 版 )》2023 年 04 期;基金项目:(项目编:HBZY - BY 2024A003)科技项目资助。

作者简介:张海华,男,保定卷烟厂技师/ 工程师,研究方向智能制造与装备升级改造