基于迁移学习与SDP- Desnet 的电缆绝缘故障诊断模型
贾辉 马海波 陈伟
辽宁红沿河核电有限公司 辽宁 大连 116000
引言
由于国家发展下的住宅和工业需求稳步增长,输配电系统不断向更高的输电电压和容量发展。电力电缆已经取代了传统的架空输电线路进行电力传输。在长期运行过程中,电力电缆的绝缘材料必须承受电应力。很可能发生由施工粗心、自然灾害、绝缘变质等因素导致的绝缘性能失效。可能会发生内部局部放电(PD),从而导致电力传输中断,甚至火灾和人身伤害[1]。
PD 是一种脉冲样现象,PD 信号的变化是电力电缆绝缘缺陷条件的有效指标。PD 检测方法已被用于研究绝缘缺陷状态。Gu 等研究了一种缺陷铸造树脂变压器。他们通过希尔伯特 - 黄变换将 PD 信号转换为带有时频域信息的能量分布 [2]。Peng 等人提出了一种基于卷积神经网络(CNNs)的高压电缆 PD 识别的深度学习方法 [3]。实验结果表明,将VMD-MDE 用于 PD 特征提取方法与 HMSVM 的 PD 识别方法相结合,可以提取出 PD 的主要特征参数。证明了所提出的 PD 故障诊断方法的有效性和优越性 [4]。波利斯蒂等人提出在控制条件下使用商用声音传感器和人工神经网络(ANN)对人工神经网络处理五种常见的 PD 类 [5]。他们将其应用扩展到户外绝缘系统中不同类型的 PD 识别,并证明了声发射(AE)技术的 PD 识别精度高于 85% 。Wang 等人利用超声传感器检测 PD 信号,利用阈值小波抑制 PD 超声信号的噪声,并提出将多尺度分析与反向传播神经网络相结合来识别不同类型的 PD 模型[6]。为了克服传统机器学习方法在提高 XLPE 电力线 PD 识别精度方面的瓶颈和限制,Wang 等人将离散小波变换与洛伦兹混沌系统相结合 [7]。该方法有助于获得PD 信号特征图,能快速识别电力电缆的故障状态。
本文结合迁移学习和深度学习的特点,提出了一种基于迁移学习与 SDP-Desnet 的电缆绝缘故障诊断模型(TL-SDP-Desnet)。本文先对电缆局部放电(PD)建模并生成模拟信号,再用 SDP 将其转为视觉特征图像,最后结合 Desnet 与迁移学习对图像进行训练和测试,实现XLPE 电缆绝缘故障识别。结果表明,该方法能够快速有效地识别电力电缆缺陷类型。
1 电力电缆PD 建模与数据采集
为研究电力电缆的 PD 性能,本文采用横截面面积为 38mm2 、耐压电压为 25kV 的 XLPE-PVC 单芯电力电缆作为实验对象。建立了带端连接器的普通电力电缆模型(I 型)和三种带端连接器的常见缺陷电力电缆故障模型(II 型 ~IV 型),讨论了不同缺陷条件引起的电力电缆PD 现象。
(1)普通电源电缆(I 类)
该电力电缆为避免沿电缆表面的高压爬电,安装了波形结构端连接器以增加表面距离。它具有应力控制(应力锥)、防水、屏蔽和绝缘功能。从而有效地平衡了电场分布,防止了电缆表面放电事故。
(2)有缺陷的电力电缆(II 型~IV 型)
如果电源电缆不符合施工规范,则在安装端部连接器时,应力锥将失效。随后,端部连接器内部的介电常数和电场分布不均匀,导致PD 现象。因此,本研究建立了电力电缆外半导体层长度仅为 5mm 长的缺陷模型。外半导体层端接头的应力锥无法覆盖,检测到缺陷引起的PD。
施工环境中的灰尘导致电缆绝缘层上有部分杂质会影响电场的分布。本研究在电缆绝缘层上撒上铜粉,模拟不清洗的施工, 检测了绝缘
层上残留杂质引起的PD 值。
电力电缆的绝缘可能会受到外部因素的破坏,如人为造成的施工不良或咬人的动物。
(3)PD 信号采集
利用自耦变压器调节高压电压互感器的电压,产生 22.8kV 的高压应用于 XLPE 电力电缆导体上。高频电流传感器(HFCT)捕获电力电缆地线的电流脉冲信号输出给高速数据采集卡用于计算分析。
2 相关理论基础
2.1 对称点图分析方法(SDP)
SDP 提供了一种获取PD 信号特征的可视化方法。图像描述了时间序列信号的振幅和频率的变化,并对离散时间轴信号的相关结果进行了变换。在极坐标空间中得到雪花状六元对称点集作为镜像对称像。
2.2 Desnet 模型
Desnet 模型没有通过深化和拓宽网络结构来提高模型性能的内在思想。Desnet 模型主要由密集块和过渡层组成。
(1)密集块:Desnet 模型通过使用大量的密集块来实现特征提取。密集块通过致密块连接形成,致密的结构如图 3 所示。第 l 个致密块的输入包含前1 个l−1 致密块的输出,即,
其中,x1,x2,……,
分别是第1 个到l-1 个致密块的输出。
(2)过渡层:过渡层包含 1×1 的卷积层和 2×2 的平均池化层,其中卷积层减少了模型的通道数,池化层用于减少特征值的大小。
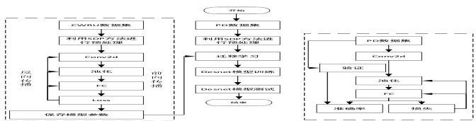
3 基于迁移学习与SDP-Desnet 的电缆绝缘故障诊断模型
CWRU 数据集和电缆故障信号数据集都是波形数据,利用迁移学习,可以将源域数据学习得到的先验信息迁移到目标域,提取底层波形信号特征,利用微调克服数据之间的变化,在一定程度上缓解过拟合现象,提高模型的泛化能力,从而提高模型在目标域的性能。
本文将迁移学习、SDP 方法与 Desnet 模型相结合,提出基于迁移学习与 SDP-Desnet 的电缆绝缘故障诊断模型(TL-SDP-Desnet),解决了电缆故障数据不足、诊断模型泛化能力不足的问题。
TL-SDP-Desnet 模型整体流程如图 1 所示。
图 1 TL-SDP-Desnet 模型实现流程

4 实验结果与对比分析
4.1 实验环境及数据
在实验中,本文使用 MATLAB2020a 和 python 实现了所提出的算法。计算机测试环境为英特尔
酷睿 TM1*7-9700 、CPU @3.0GHz 处理器、NVIDIA GeForce RTX2080 SUPER 图形适配器和 Windows10 专业 64 位操作系统。
本文实验时采用的四种电力电缆PD 信号数据分别为普通电力电缆模型(I 型)、电力电缆外部半导体层缺陷模型(II 型)、杂质电力电缆绝缘缺陷模型(III 型)和电力电缆绝缘损伤缺陷模型(IV 型)。以电网 60Hz 供电为基础,测量电力电缆的PD 信号。每种类型的PD 信号的采样时间、采样频率和采样点数分别为 50ms 、 25Hz 和 2,000,000 。电源电缆的接地端子HFCT 与高速数据捕获卡连接,以采集PD 信号。
4.2 评价指标
本文使用准确率 Accuracy 作为模型性能评价指标。具体计算公式如下:
(14)
其中,TP 为真阳性、TN 为真阴性、FP 为假阳性、FN 为假阴性。
4.3 电力电缆 PD 的 SDP 特征图像
故障识别效率与特征提取性能相关,特征提取是诊断关键。测量电缆局部放电信号,并将时域PD 信号由SDP 转为极坐标特征图。
普通电力电缆的像点坐标均匀分布,明显呈同心环状。当电力电缆绝缘具有不同的缺陷条件时,图像点坐标将具有不同程度的不均匀密度分布。图像几何中心的点坐标分布形状和点坐标面积分布显示出对称的雪花状变化。上述 SDP 特征图像特征可用于 Desnet 模型训练和识别故障类型。
4.4 TL-SDP-Desnet 模型故障诊断结果
本文利用 pytorch 框架构建了在 PD 数据集上进行模式识别研究的TL-SDP-Desnet 模型。将学习率的初始值设置为 0.1,采用等量间隔调整学习率的调整策略,每7 次迭代的学习率衰减到原始学习率的十分之一。基于 TL-SDP-Desnet 模型的故障诊断结果如图 7 所示。图 2(a) 显示PD 数据集直接与DenseNet 训练的识别结果模型,可以看出,模型有一个高起点的损失函数,精度达到 80% 约 8 个时代,但随着迭代次数的增加,验证集的准确性呈下降趋势和模型呈现过拟合现象。图2(b) 为基于 TL-SDP-Desnet 模型的故障诊断结果。可以看出,迁移学习模型的损失函数的起点较低,精度达到 90% 左右的时代达到 9,时代达到15 时精度超过 95% ,模型的收敛性高。
从图 2 可以看出,基于迁移学习的识别模型具有较好的收敛性,识别精度显著提高。本文选择 TL-SDP-Desnet 模型对 PD 数据集进行训练,结合深度数据特征和浅层特征,充分提取不同缺陷的故障特征,从而获得更好的缺陷模式识别结果。
图 3 显示了没有迁移学习的 SDP-Desnet 模型和基于迁移学习的SDP-Desnet 模型的验证集的混淆矩阵。通过比较,可以看出,没有迁移学习的模型在验证集中具有相对较高的识别错误数量。
图 2 TL-SDP-Desnet 模型的故障诊断结果 图 3 验证集的混淆矩阵4.5 故障诊断精度比较

为验证 TL-SDP-Desnet 模型的故障诊断效果,本文采用与 Desnet具有相似网络结构的 LeNet、AlexNet、ResNet、MobileNet 进行故障诊断效果比较。
(1)无迁移学习:不同网络结构的损失率和准确率如图4、5 所示。从中可以看出,随着网络深度的加深,故障诊断精度有所提高。这表明,复杂的深度学习网络结构对电缆故障诊断是有效的。
图4 模型损失率对比曲线

图 5 模型准确率对比曲线

(2)添加迁移学习:表 1 显示了不同网络结构结合迁移学习的识别率和训练时间的比较。TL-SDP-Desnet 的总体识别率为 98.16% ,明显高于其他模型。其中,LeNet 模型对 PD 数据集的识别率较低,这是由于 LeNet 模型的结构较浅,不能完全提取数据的底层特征信息。
AlexNet 模型的全连接层的参数远远超过卷积层的参数,从而增加了模型的训练量,降低了模型的泛化能力。在上述使用的PD模式识别方法中,DPN 和 ResNet 模型也取得了良好的识别结果;但两种模型都存在某些类型缺陷识别精度较低的问题,由于 MobileNet 结构的网络参数较多,模型的训练时间较长。TL-SDP-Desnet 模型对四种缺陷具有更好的识别率,总体上是最好的模型识别方法。
表1 模型故障诊断结果对比

通过对比图 4、5 和表 1,可以看出迁移学习对不同个体的识别效果不同网络。对于 LeNet 和 AlexNet 几乎没有改善,这是由于浅层网络的参数结构较少并且不足以有效地提取 PD 数据,使得识别准确率低。同时时间,迁移学习提高了识别的准确性复杂的深度学习网络,减少训练时间,这是由于PD 数据集和CWRU 数据集属于时域波形数据,并共享基本特征,从而减少训练时间和提取不同缺陷 PD 数据集的本质这提高了识别精度。
5 结论
本文针对电力电缆故障诊断过程中存在的数据不足、诊断模型泛化能力不足的问题,提出了一种基于迁移学习与 SDP-Desnet 的故障诊断模型(TL-SDP-Desnet)。首先建立了电力电缆的正常的和三种常见的绝缘缺陷模型,并对实际的局部放电现象进行了测量;然后,采用SDP 方法对关键特征进行图像转换,以特征图像作为故障诊断的关键;最后,利用迁移学习和 Desnet 模型进行故障识别。实验结果表明,该方法的识别准确率高达 98% 。在实验中,一方面对迁移学习的效果进行了对比,另一方面对具有与 Desnet 模型相似网络结构的模型进行了对比,结果证明该模型可以在有限的数据集上获得较好的识别精度。
在未来的研究中,一方面可以利用硬件电路来实现电力电缆的故障诊断,这有助于评估电力电缆的绝缘状态,同时进行故障的预防性诊断;一方面可以采用本文所提出的故障诊断方法,用于电力设备的故障诊断,提高电力系统的运行寿命和可靠性。
6 参考文献
[1]Feng C, Ye P, Sun Y, et al. Decision-Making Method for Mine Cable Insulation Monitoring and Grounding Fault Diagnosis[J]. Processes, 2023, 11(3): 795-813.
[2]Santos M G, Braulio G A, Bernardes Jr J V, et al. Continuous Partial Discharges Analysis During Automated Thermal Cycle Aging Experiment[J]. IEEE Transactions on Energy Conversion, 2020, 35(4): 1989-1992.
[3]Gu F C, Chen H C, Chao M H. Application of improved Hilbert-Huang transform to partial discharge signal analysis[J]. IEEE Transactions on Dielectrics and Electrical Insulation, 2018, 25(2): 668-677.
[4]Peng X, Yang F, Wang G, et al. A convolutional neural network-based deep learning methodology for recognition of partial discharge patterns from high-voltage cables[J]. IEEE Transactions on Power Delivery, 2019, 34(4): 1460-1469.
[5]Shang H, Li F, Wu Y. Partial discharge fault diagnosis based on multi-scale dispersion entropy and a hypersphere multiclass support vector machine[J]. Entropy, 2019, 21(1): 81.
[6]Polisetty S, El‐Hag A, Jayram S. Classification of common discharges in outdoor insulation using acoustic signals and artificial neural network[J]. High Voltage, 2019, 4(4): 333-338.
[7]Wang Y, Zhang X, Li Y, et al. Multi-scale analysis and pattern recognition of ultrasonic signals of PD in a liquid/ solid composite of an oil-filled terminal[J]. Energies, 2020, 13(2): 366..