钻孔灌注桩沉孔遇块石类障碍物清障施工技术
林昱
上海市水利工程集团有限公司 上海 201612
一、前言
钻孔灌注桩是地基处理的常用手段,被广泛应用于房建、市政、水利等工程领域。钻孔灌注桩施工工艺成熟,工艺流程简单,成桩质量容易保证,能够为上部建筑结构提高良好的承载力,是工程地基处理的常用桩型。
然而在灌注桩桩机成孔下钻过程中,考虑到地下块石、混凝土老结构等难以预见的障碍物时,传统钻头往往出现难以下钻至设计标高、钻头偏斜、桩身扩孔等问题,使得灌注桩成桩质量难以保证。根据实际工程经验,当遭遇地下障碍物时,往往采取更改桩位、大面积土方开挖清障、补桩、人工挖孔法、钻机拔除法、机械振拔法、起道器顶拔法、钻进挤靠法、冲抓清理法、机械挖掘法等进行清障,然而以上方法都有各自的限制条件 [1][2],此类方法往往工效低、成本高,对整个工程项目推进造成不良影响。
基于现有灌注桩成孔下钻过程中遭遇地下块石等障碍物时所产生的问题与不足,本文结合淀东水利枢纽船闸重建工程(二期)的工程实践经验,提出了一种经济实用、工艺简单、有效保证施工质量且可以大面积推广应用的可用于块石清障的方法。
二、工程背景
淀东水利枢纽船闸重建工程(二期)位于上海市淀浦河闵行段上,原船闸于 1978 年建成,经鉴定属于四类闸,需要拆除,本工程是在原址对老船闸进行拆除重建。工程主要任务是通过重建船闸外闸首、闸室及外河翼墙,疏浚内外河引航道等工程措施,消除淀东水利枢纽船闸的安全隐患,保障船舶通航安全,确保区域防汛安全。
其中外闸首采用钻孔灌注桩群桩基础,共计 96 根,均位于淀浦河当中,施工位置为老船闸的浆砌块石护底区域。根据设计要求,桩基施工前需先进行清障,采用挖机在水上作业船上破除老护底、打捞块石的清障方式。因该清障方式无法肉眼观察水下浆砌块石护底,导致部分块石未被捞出。
清障完成后,再施作围堰,基坑断流后,再在整个基坑范围内回填土方,作为打桩和钢筋砼支撑的施工平台,基坑所回填的土方也存在少量块石。以上两部分的块石障碍物造成后续多根钻孔灌注桩施工时,钻头无法钻进,严重拖延施工进度。
三、水文地质条件
本工程外河引航道处的河宽约为 48~94m ,水深为 0.7~4.5m ,外河由于潮起潮落,水位不稳定,其水面标高在
之间。
根据钻孔揭露,拟建场地 50.0m 深度范围内所揭露的土层主要为全新世 Q4的滨海~河口、滨海 ~ 浅海、滨海、沼泽相及晚更新世 Q3 的河口 ~ 湖泽、滨海~浅海相沉积物。河床有老船闸浆砌块石护底、老板桩等障碍物,给桩基施工带来较大困难。
四、关键施工技术
本工程桩基础采用钻孔灌注桩,共计 96 根,桩径 800mm ,桩长 23.5m ,桩底高程 -28.2m ,桩顶高程 -4.7m ,打桩平台高程为 4.5m ,钻孔深度为 32.7m ,桩端持力层为第 ⑦1-2 层砂质粉土。
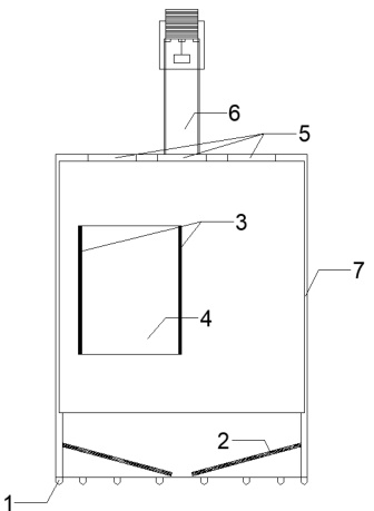
在钻头钻至原浆砌块石护底高程后,部分灌注桩无法继续钻进,此时提钻并将传统钻头更换成本单位自行研发的一种特殊钻头以打捞块石障碍物。钻头构造如下:

切割刀片;2- 钢丝绳;3- 门叶插销;4- 门叶;
观察孔;6- 钻杆连接头;7- 钻头主体结构
钻头原理:当钻头下钻遇到地下障碍物石块,钢丝绳为半刚性半柔性结构,下钻时使得石块浮动至钢丝绳上部。随着石块越来越多,钻杆旋转阻力越大,这时可以提钻,从观察孔中观察钻头内是否有石块,如果有,手通过观察孔将固定门叶的插销拔出,门叶打开,将石块从门叶位置清除出去。以此解决灌注桩桩位地下障碍物(埋深较深)难以清障的问题。
安装使用方法为:
(1)通过钻杆连接头与灌注桩桩机主钻杆相连接;(2)灌注桩机施工传统钻头钻孔遭遇块石障碍物时,灌注桩机提钻将传统钻头更换为本发明专利的钻头,利用钻头主体结构底部的切割刀片正常下钻;(3)下钻过程中遭遇块石时,由于钻头内部的钢丝绳具有一定柔性,钻头下钻时,钢丝绳受挤压存在一定变形,块石转移至钢丝绳上部;(4)灌注桩机提钻过程中,块石通过钻头内部钢丝绳支撑,一起带出孔;(5)作业人员通过设置于钻头顶部观察孔,明确带出的块石情况。通过观察孔打开钻头内部插销,进而打开位于钻头主体结构上的门叶,以便块石通过门叶从钻头内清出。
结语
钻孔灌注桩应用广泛,在遇到障碍物时,以往的清障方法存在成本高、效率低的缺点。本文对淀东水利枢纽船闸重建工程(二期)桩基施工遇阻情况进行分析,提出了一种新的处理方法,该方法具有以下特点:(1)灌注桩桩机下钻成孔过程中,遭遇块石等地下障碍物,可以通过提钻直接带出块石等地下障碍物,而不影响后续灌注桩成孔及其他工序施工,避免扩孔、桩身垂直度偏差等问题的发生,保证成桩质量。(2)与大范围土方开挖、调整桩位、补桩等传统清障方案相比,工效大大提升,加快灌注桩施工进度,同时大大降低清障费用,节约工程成本,具备更高的经济性。
参考文献:
[1] 徐佩林 . 钻孔灌注桩遇地下障碍物的处理 [J]. 探矿工程 ( 岩土钻掘工程 ),1999,(04)
[2] 宋芃 , 段军朝, 王曌龙 . 深水钻孔灌注桩桩基成孔遇阻处理技术 [J].施工技术 ,2017,46(07)